25 февраля 2026

Інженерні підрозділи автомобільних компаній дедалі частіше працюють над створенням доступних технологій, які можуть підвищити рівень безпеки та зручності водіння без значного здорожчання виробництва. Одним із цікавих прикладів стала нова концепція системи захисту дверей, запропонована американським автовиробником Ford Motor Company.
Про це повідомляє Motor.es.
Розробка спрямована на вирішення проблеми випадкового відкривання дверей під час руху автомобіля. Подібна ситуація може виникати через помилки пасажирів або технічні збої замкового механізму. Запропонована технологія здатна автоматично реагувати навіть у разі несправності стандартного блокування.
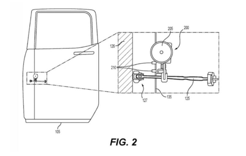
Особливість системи полягає у використанні сенсорних елементів, які контролюють швидкість переміщення дверної конструкції. Якщо відкривання відбувається занадто різко, механізм створює додатковий опір, сповільнюючи рух дверей і зменшуючи ризик пошкодження кузова чи сусідніх транспортних засобів під час паркування.
У технічному описі патенту згадуються акселерометричні датчики, що аналізують динаміку відкривання, а також допоміжні сенсори, які оцінюють наявність перешкод у зоні руху дверей. Блокування працює за допомогою механічного вузла з важелями та гальмівними елементами, що розблоковують замок лише після підтвердження безпечної траєкторії відкриття.
Заявку на технологію було подано у 2024 році. Після оприлюднення патенту інформація стала загальнодоступною, однак питання впровадження системи в серійні автомобілі поки залишається відкритим. Перспективи масового використання новинки залежать від подальшого розвитку автомобільних платформ і загального переходу галузі до більш електронно керованих рішень.
Раніше ми повідомляли, що новий водневий ДВЗ може стати альтернативою електромобілям.
Хочеш дізнатися більше — читай відгуки
← Вернуться на предыдущую страницу
Під Києвом сварка між сестрою та братом завершилась убивством 25 февраля 2026
Під Києвом сварка між сестрою та братом завершилась убивством. Подробиці та фото Підозрюваному загрожує до 15 років позбавлення волі
Макрон назвав три провали Росії у війні проти України 24 февраля 2026
Війна проти України - потрійний провал Росії: військовий, економічний і стратегічний, заявив французький лідер.
Алалія у дітей: ранні ознаки та можливості корекції у логопеда-дефектолога 24 февраля 2026
Порушення мовленнєвого розвитку є однією з найпоширеніших проблем у дитячому віці. Ці порушення можуть впливати не лише на здатність дитини спілкуватися, але й на розвиток мислення, уваги, пам’яті та подальше навчання.